Teknoloji devleri, son yıllarda akıllı cihazlarına entegre ettikleri uydu bağlantısı özellikleriyle sinyal alınamayan bölgelerde bile iletişim kurulabilmesine imkan tanıyor. Özellikle acil durumlarda hayat kurtarıcı olabilen bu teknoloji Apple'ın bazı cihazlarında da bulunuyor. Cupertino merkezli şirket, söz konusu teknolojiyle alakalı yeni çalışmalarını sürdürürken dikkat çeken bir iddia geldi.
Webtekno'da yer alan habere göre; Apple'ın 2024 yılında bu konu hakkında yaptığı bir patent başvurusu ortaya çıktı. Yeni gün yüzüne çıkan patentte Apple’ın uydu bağlantısını teknolojisini ilginç bir ürünle çok daha iyi getirmeyi planladığı görüldü. Bu ürün, bir kılıf olarak karşımıza çıkıyor. Patent, uydu bağlantısını iyileştiren bir telefon kılıfını içeriyor.
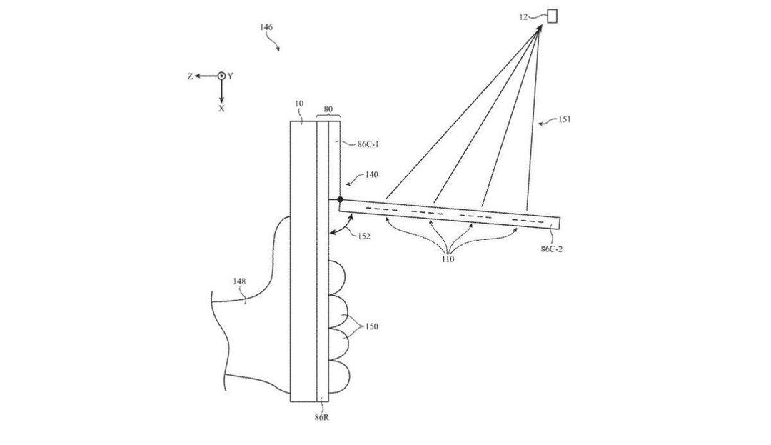
UYDU BAĞLANTISINI İYİLEŞTİREN ANTENLERE SAHİP OLACAK
Patentteki bilgilere göre kılıf hem iPhone’lar hem de iPad modelleri için olacak. Daha fazla ve daha iyi antenler içermesiyle de bağlantıyı iyileştirecek. Çizimlerden de görebileceğiniz gibi kılıfın içindeki fazlı anten dizisini daha iyi bir uydu sinyali almak için gökyüzüne doğru çeviren, açılıp kapanabilen bir parçası olacak. Bu dokunulduğunda bağlantının engellenmesinin de önüne geçecek.

Bu tür bir anten dizisiyle kılıf bir grup uyduya bağlanabilecek, çok daha iyi bağlantı sunabilecek. Kullanıcı tarafından takılıp çıkarılabilen normal bir kılıf gibi işlev göreceğini de belirtmek gerek.
Tabii ki patent başvurularıyla ilgili bilmeniz gereken bir şey var. Tıpkı diğer şirketler gibi Apple da sürekli patent başvuruları yapıyor. Ancak bu teknolojilerin hepsi gün yüzünü görmeyebiliyor. Bu yüzden uydu bağlantısını iyileştiren kılıf teknolojisinin de gerçeğe dönüşüp dönüşmeyeceğini bilmiyoruz.




